Newman Spiral Kinematograph(c.1913–c.1915)
An obscure film format for amateurs, with frames arranged in a continuous spiral on a loop of film, 86mm (3.386 in) wide.
Film Explorer
A 86mm negative showing the slight spiral arrangement of the successive frames. The two ends of the film were connected to create a loop, onto which the images were recorded in an uninterrupted line forming a spiral, thanks to the delicate lateral and vertical positioning of the film. The increasing offset is evident in this surviving sample.
Film Frame Collection (P-074), Seaver Center for Western History Research, Natural History Museum of Los Angeles County, Los Angeles, CA, United States.
A close-up of 86mm loop negative, showing an eight-column frame arrangement, with overlapping exposures.
Film Frame Collection (P-074), Seaver Center for Western History Research, Natural History Museum of Los Angeles County, Los Angeles, CA, United States.
Identification
Unknown
Approx.
B/W
Unknown
1 (loop).
Approx. 9mm x 6.52mm (0.354 in x 0.257 in).
B/W
Unknown. There appear to be none, based on the surviving samples.
History
[Little is currently known about this obscure film format beyond knowledge gleaned from the surviving film frames and the few sources listed in the References section. The Editors would welcome any leads readers may be able to provide.]
Based on patents uncovered, and from data on the index card accompanying the surviving samples preserved at the Seaver Center for Western History Research (Natural History Museum of Los Angeles County), this film format was first developed by Arthur Samuel Newman, Thomas Horace Bolam and Sidney Norman Barnard around 1913, with further improved iterations continuing into the following year.
Arthur Samuel Newman, a British camera designer and inventor, later associated with Newman & Sinclair, developed kinematograph mechanisms during the 1910s. Patents filed in 1913 and 1914, with collaborators Thomas Horace Bolam and Sidney Norman Barnard, described a hand-cranked home kinematograph apparatus in which a short strip of wide film was connected together at its ends to form a loop. Based on the patents, the device allowed for both image recording and projection, with frames being arranged in a continuous slight spiral onto the film.
The design aimed to make motion-picture recording and projection more efficient by eliminating bulky reels and allowing the film to pass smoothly and continuously through the optical gate. Newman’s process promised two main advantages: to increase the image capacity within a compact housing and to enable steady, uninterrupted projection. In the letter to Earl Theisen accompanying the samples Newman donated to the Seaver Center, Newman described the negative as “made into a spiral by use of small fasteners … [that] can be detached, leaving the film flat for development, and flexible for printing,” and that “the flat condition of the film was intended for easy storage; the positives being treated in the same manner” (Newman, 1931).
It remains uncertain whether any working model of the spiral-film kinematograph was successful in practice or used beyond the testing stage. The only surviving samples are negatives, no prints have yet been encountered.
Technology
[Little is currently known about this obscure film format outside of the surviving film frames preserved at the Seaver Center for Western History Research (Natural History Museum of Los Angeles County), and the few sources listed in the References section. The Editors would welcome any leads readers may be able to provide.]
Newman’s spiral kinematograph, as detailed in British Patents Nos. 20,365 (1913) and 7,524 (1915), is characterised by a multi-column spiral arrangement of frames on a wide 86mm (3.386 in) film strip.
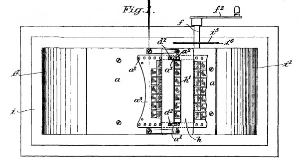
According to the initial patent (No. 20,365), the film ends were connected to create a loop and the film was wrapped around a sort of threaded screw, via a carrier. As the screw was turned by hand-cranking, the film was pulled forward one picture at a time and slid sideways thanks to sprocket wheels moving the film carrier. The frames were thus arranged in a spiral pattern. In a later patent (No. 7,524), the film was moved forward directly by spring-loaded hooks, since threading up the film upon fixed sprockets proved itself to be quite challenging and necessitated careful handling. This improved version supposedly also allowed for the different length of films to be used.
In both versions, the kinematograph could be used by amateurs not only to record but also to project images thanks to a light source placed behind the loop, a lens, a film gate holding the film flat, intermittent motion and two shutters (one internal for recording and one external for projection) synchronized with the film movement. Some negatives displaying this parallel arrangement are held in the collection at the Seaver Center, their accompanying index card mentions a 86mm-wide looped film measuring 1.5 ft (45.72 cm) in length. However, no prints are known to have survived.
A follow-up patent (British Patent No. 7,525) filed by the same inventors, described a printing device intended for wide films, on which the pictures were arranged in lines across a looped film.
Index card accompanying the surviving frames donated to the Seaver Center.
Film Frame Collection (P-074), Seaver Center for Western History Research, Natural History Museum of Los Angeles County, Los Angeles, CA, United States.
Two round fasteners were proposed to join the two ends of the 86mm film together to form a loop.
Bolam, T. H., Bernard, S. N., and Newman, A. S. Means for Joining the Ends of a Cinematograph Film. British Patent 2,794, filed February 3, 1914, and issued October 8 30, 1914. https://worldwide.espacenet.com/patent/search/family/032827106/publication/GB191402794A?q=pn%3DGB191402794A
Spiral arrangement of the frames on the 86mm film, placed on the base plate of the printing device.
Bolam, T. H., Bernard, S. N., and Newman, A. S. Improved Printing Apparatus for Cinematograph Films. British Patent 7,525, filed March 25, 1914, and issued February 25, 1915. https://worldwide.espacenet.com/patent/search/family/034360543/publication/GB191407525A?q=pn%3DGB191407525A
References
Herbert, Stephen & Luke McKernan (eds.) (2026). Who's Who of Victorian Cinema (website). https://www.victorian-cinema.net/newman.php
Newman, A. S. (1931). Letter to Earl Theisen, dated May 8, 1931. Film Frame Collection (P-074), Seaver Center for Western History Research, Natural History Museum of Los Angeles County, Los Angeles, CA, United States.
Science Museum Group (n.d.). Newman and Sinclair Limited Collection. The National Media Museum, Bradford, United Kingdom. (https://collection.sciencemuseumgroup.org.uk/people/cp116119/newman-and-sinclair-limited
Seaver Center for Western History Research (2018). Index Card. SCWHR-P-074-3A-127. Film Frame Collection (P-074), Seaver Center for Western History Research, Natural History Museum of Los Angeles County, Los Angeles, CA, United States.
Seaver Center for Western History Research (2018). Index Card. SCWHR-P-074-13-4. Film Frame Collection (P-074), Seaver Center for Western History Research, Natural History Museum of Los Angeles County, Los Angeles, CA, United States.
Patents
Bolam, T. H., Bernard, S. N., and Newman, A. S. Improved Kinematograph Apparatus. British Patent 20,365, filed September 9, 1913, and issued July 30, 1914. https://worldwide.espacenet.com/patent/search/family/032646124/publication/GB191320365A?q=pn%3DGB191320365A
Bolam, T. H., Bernard, S. N., and Newman, A. S. Means for Joining the Ends of a Cinematograph Film. British Patent 2,794, filed February 3, 1914, and issued October 8, 1914. https://worldwide.espacenet.com/patent/search/family/032827106/publication/GB191402794A?q=pn%3DGB191402794A
Bolam, T. H., Bernard, S. N., and Newman, A. S. An Improved Cinematograph Apparatus. British Patent 7,524, filed March 25, 1914, and issued March 25, 1915. https://worldwide.espacenet.com/patent/search/family/034360542/publication/GB191407524A?q=GB191407524A
Bolam, T. H., Bernard, S. N., and Newman, A. S. Improved Printing Apparatus for Cinematograph Films. British Patent 7,525, filed March 25, 1914, and issued February 25, 1915. https://worldwide.espacenet.com/patent/search/family/034360543/publication/GB191407525A?q=pn%3DGB191407525A
Compare
Related entries
Author
Margaux Chalançon is an independent audiovisual archivist. A graduate of the Film Preservation Master’s program at Elías Querejeta Zine Eskola (EQZE), Donostia-San Sebastian, she carried out the restoration of The Freedom Giver (Kais al Zubaidi, 1989). She currently works as production associate on the Film Atlas project and as an audiovisual archivist with Les Films de Mon Oncle, preserving the works of Jacques Tati. https://www.margaux-ch.com/
Chalançon, Margaux (2026). “Newman Spiral Kinematograph”. In James Layton (ed.), Film Atlas. www.filmatlas.com. Brussels: International Federation of Film Archives / Rochester, NY: George Eastman Museum.

